******365英国上市(集团)有限公司-Official website

教授(正高)

个人简介

谢和平中国工程院院士

谢和平,1956年出生于湖南娄底,力学与能源工程专家,2001年当选中国工程院院士。现任深圳大学特聘教授,四川大学教授,深地工程智能建造与健康运维全国重点实验室主任、广东省深地科学与地热能开发利用重点实验室主任,教育部科学技术委员会主任、国务院学位委员会学科评议组(矿业工程、石油与天然气工程组)召集人、国家碳中和技术委员会委员等职务。曾任原煤炭工业部科技教育司司长、中国矿业大学校长和中国矿业大学(北京校区)校长、四川大学校长、四川省科协主席;为中共十七届中央候补委员、十二届全国人大代表。

基本信息

谢和平院士是国家973项目首席科学家(2次),国家自然科学基金委“创新研究群体”首席科学家,国家重点研发计划“深部岩体力学与开采理论”项目负责人,国家自然科学基金委重大科学仪器研制项目“深部岩体原位保真取芯与保真测试系统”项目负责人。谢和平曾荣获国家自然科学二等奖(2007)、国家科技进步二等奖(2000)、国家科技进步三等奖(1999)、国家自然科学三等奖(1995),及首届“中国青年科学家奖(技术科学)”(1992)、孙越崎能源大奖(2001)、何梁何利基金科学与技术进步奖(2004)和省部级二等以上奖励多项。2007年被德国克劳斯塔尔工业大学授予荣誉博士学位,2008年入选香港理工大学“杰出中国访问学人奖励计划”,2012年10月被香港理工大学授予荣誉博士学位,2012年11月被英国诺丁汉大学授予荣誉博士学位,2017年5月被牛津大学圣艾德蒙学院授予“牛津大学圣艾德蒙Fellow”学术称号,2018年9月获得“IET杰出大学校长奖”,2018年9月获得国家教学成果特等奖。

谢和平院士长期致力于深地科学与绿色能源领域的基础研究与工程实践。1982年起,创造性引入分形方法,在国际上开创了岩石力学分形研究新领域;在我国最早建立了裂隙岩体宏观损伤力学模型,开拓了裂隙岩体损伤力学研究新领域。首次提出了深部原位岩石力学构想,构建了深部岩体力学与开采理论研究框架。深入探索了低碳技术与CO2矿化及综合利用,形成一系列CO2资源化、能源化利用的高效耦合技术原理和方法。目前正深入深地深海深空保真取芯探矿与测试基础研究、地热勘探开发利用、中低温地热磁浮发电变革性技术和温差材料发电颠覆性技术、工程扰动岩石动力理论与技术、低碳与海水制氢等能源化利用技术、月基能源资源探测前沿技术以及深部固体资源流态化开采理论和技术,与国内外研究机构组建粤港澳大湾区地热开发协同创新平台。研究成果已出版10余本中英文专著;在Nature、Nature Energy等顶级期刊发表400余篇学术论文。

人物经历

1956年1月17日,谢和平出生于湖南省娄底市双峰县。

1975年9月,高中毕业后,在湖南双峰县红星中学任民办教师。

1978年9月,进入中国矿业大学数学与力学系力学专业学习。

1982年7月,大学毕业,获得工学学士学位。9月考上中国矿业大学北京研究生部数学与力学系研究生,先后获得矿山工程力学专业硕士(1985年7月)、博士学位(1987年7月)。

1986年11月,加入中国共产党。

1987年7月,博士毕业后留校任教,先后担任副教授、教授。

1990年,被原煤炭部授予“煤炭系统优秀青年知识分子标兵”称号。

1990年11月至1991年9月,担任美国Utah大学地球科学学院访问教授。

1991年,获国家教委科技进步一等奖;同年,被国务院、国家教委授予“有突出贡献的中国博士”称号。

1992年,被国家人事部授予“国家级有突出贡献的中青年专家”称号;同年,获“中国青年科技奖”。

1992年3月至1993年2月,担任中国矿业大学校长助理。

1992年9月至1993年6月,担任英国皇家学会Royal Society Res.Guest Fellow、英国南安大学访问教授。

1993年,获首届“中国青年科学家奖(技术科学)”,为全国6名获奖者之一;同年,获“霍英东优秀青年教师奖(研究类)”。

1993年2月至1995年3月,担任中国矿业大学副校长。(其间:1993年6月-1993年7月,波兰科学院、Silesian工业大学访问讲学;1994年10月-1994年12月,德国Hannover大学讲学和合作研究)。

1994年,成为首批国家教委“跨世纪优秀人才专项基金”资助的专家。

1994年12月,担任中国矿业大学北京研究生部教授、博士导师、国家重点学科“矿山工程力学”学术带头人。

1995年,获国家自然科学三等奖1项;同年,成为首批“国家杰出青年科学基金”资助的专家。

1995年3月至1997年10月,谢和平担任中国矿业大学副校长兼北京研究生部主任(其间:1996年10月-1996年12月,德国Hannover大学访问讲学和合作研究;1997年3月至1997年7月, 在中央党校进修班学习)。

1996年,获国家教委科技进步二等奖;同年,进入国家七部委“百千万人才工程”第一、二层次。

1997年,成为江苏省“333跨世纪工程”第一层次培养对象;同年,被国家人事部、国家教委授予“优秀留学回国人员”称号。

1997年10月至1998年08月,担任原煤炭工业部科技教育司司长(其间,1997.10-1997.12,波兰Silesian工业大学访问讲学和全国青联“杰出青年代表团”赴台访问)。

1998年,获煤炭工业科技进步一等奖;同年,获教育部科技进步二等奖。

1998年8月至2003年6月,担任中国矿业大学校长(其间:2000年3月至2001年1月, 在中央党校中青班(16期)学习)。

1999年,获国家科技进步三等奖;同年,获煤炭工业科技进步特等奖。

2000年,获国家科技进步二等奖。

2001年,获孙越崎能源大奖;同年,获中国高校自然科学一等奖;同年11月,当选中国工程院院士,隶属于能源与矿业工程学部。

2002年,成为国家973项目“灾害环境下重大工程安全性的基础研究”首席科学家。

2003年,成为国家自然科学基金委创新研究群体首席科学家。

2003年6月至2017年12月,担任四川大学党委常委、校长(副部长级)(2003年6月至今,担任四川大学博士生导师)。

2004年,获何梁何利科技进步奖。

2007年,获国家自然科学奖二等奖;同年,还被德国克劳斯塔尔工业大学授予了荣誉博士学位、成为该校建校232年来获此荣誉的第五人。

2007年10月,当选第十七届中共中央会员会候补委员。

2008年,获香港理工大学2008年度第十五届“杰出中国访问学人计划”表彰。

2009年,成为中国书法家协会会员。

2010年,成为国家973项目“深部煤炭开发中煤与瓦斯共采理论”首席科学家。

2011年,成为国家科技部重大国际合作项目负责人。

2012年,被香港理工大学授予了荣誉博士学位;同年,被英国诺丁汉大学授予了荣誉博士学位。

2012年12月-2019年4月,任四川省科协主席。

2012年12月-2018年4月,任四川省书法家协会副主席。

2013年,当选第十二届全国人民大会代表。

2016年7月,任国家重点研发计划“深部岩体力学与开采理论”项目负责人。

2017年5月被牛津大学圣艾德蒙学院授予“牛津大学圣艾德蒙Fellow”学术称号。

2017年12月26日,中组部相关负责人宣布了中共中央、国务院关于四川大学校长调整的决定:谢和平同志因年龄到限不再担任四川大学校长。

2018年9月,获得国家教学成果特等奖、“IET杰出大学校长奖”。

2019年1月,任国家自然科学基金委重大科学仪器研制项目“深部岩体原位保真取芯与保真测试系统”项目负责人。

2020年,任国务院学位委员会学科评议组(矿业工程、石油与天然气工程组)召集人。

2020年12日15日,教育部网站发布了《关于聘任第八届教育部科学技术委员会委员的通知》(教科技函〔2020〕68号),公布了新一届教育部科学技术委员会委员名单,谢和平院士任第八届教育部科技委主任委员。

2022年3月,四川大学碳中和未来技术学院学术委员会主任。

主要成就(科研成就)

科研综述

谢和平院士长期致力于深地科学与绿色能源领域的基础研究与工程实践。1982年起,创造性引入分形方法,在国际上开创了岩石力学分形研究新领域;在我国最早建立了裂隙岩体宏观损伤力学模型,开拓了裂隙岩体损伤力学研究新领域。2018年以来,在国际上首次提出了深部原位岩石力学和工程扰动岩石动力学构想并构建了其理论框架。深入探索了低碳技术与CO2矿化及综合利用,形成一系列CO2资源化、能源化利用的高效耦合技术原理和方法。目前正深入开展深地深海深空保真取芯探矿与测试基础、粤港澳大湾区地热勘探开发利用、中低温地热发电原理和技术、工程扰动岩石动力理论与技术、低碳与海水制氢技术、月基能源资源探测前沿技术以及深部固体资源流态化开采理论和技术等方面的研究。他的主要学术成果包括以下几个方面:

岩体损伤力学研究

岩体为天然损伤体,其变形特征为大变形,常规方法难以准确描述和计算。20世纪80年代他在中国国内首先提出了一个考虑裂隙岩体能量耗散和大变形的损伤因子,建立了岩石损伤断裂全过程的损伤演化方程和本构模型;提出了岩石蠕变非线性大变形损伤理论及有限元数值方法,成功预测了采动围岩的损伤大变形程度和蠕变稳定过程,从而广泛应用于岩层移动和巷道大变形预测等重要工程领域。

岩体力学的分形研究

岩体工程中经常遇到断层、节理、破碎断裂、矿体块度控制等非连续行为,他在岩石损伤力学描述岩体整体宏观连续性行为基础上,创造性地引入分形方法对裂隙岩体的非连续行为进行研究,并在裂隙岩体工程中得到了应用。对岩体中的节理断层,他应用分形方法建立了节理构形模型,得到节理分维值与JRc(节理粗糙系数)的定量关系,对JRc进行了准确预测。同时利用分形方法系统研究了节理粗糙性对抗剪强度、剪切变形、应力集中程度以及接触性质的影响关系,为相关的节理岩体工程设计提供了理论依据。

对矿山采动引起的岩体破坏断裂行为,他应用分形方法建立了岩石穿晶断裂、穿晶沿晶耦合断裂的分形模型,推导出岩石断裂破坏的临界扩展力,推广了Griffith准则并得到实验验证。针对岩石动态断裂行为,他建立了岩石动态裂纹扩展力学行为与细观结构关系的分形模型,从宏观上定量解释了岩石动态裂纹扩展速率实验值远低于理论值、裂纹分岔导致断裂韧性增加的物理机制,从全新角度分析了岩体动静态裂纹扩展规律和行为,为矿山采动引起的冲击地压、边坡失稳等重大工程灾害的科学预测与控制提供了理论基础。

工程扰动岩石动力学研究

岩石工程的建造和运维是一个动力学过程,其应变率大于10-4 s-1。谢和平院士在国际上率先提出并建立了工程扰动岩石动力学理论,旨在系统研究工程扰动作用下岩石动力行为和响应,特别是发展能系统考虑重大工程在施工期和运营期不同工况下的动力响应规律及灾害防控理论和技术;自主设计并研发了世界首套动态真三轴电磁霍普金森杆测试系统,构建了以真三轴电磁加载为主导、集低中高应变率测试为一体的三维岩石动力学测试平台;研制了疲劳变频流体注入扰动诱发地震试验系统,提出了降低流体注入诱发地震震级的控制方法,初步形成了变频循环流体注入诱发断层活化防控与降震减震技术,为相关重大工程建设、深部能源资源开发利等重大基础设施建设等需求提供了基础理论和技术支撑。

深部岩石保真取心与保真测试研究

探索深部原位环境岩石力学规律,建立“深部原位岩石力学”,是深部科学领域的核心共性基础科学问题。他在国际上首次提出“五保”(保压、保温、保质、保湿、保光)保真取心全新构想,建立自主原创、世界领先的深部原位保真取心与保真测试分析系统,来破解深部岩石力学“原位”研究的核心难题,获取地球深部真实的“活体”样本,并在深部原位环境条件下岩石物质、成分、结构与行为特征的测试分析。此创新工作开辟了深部原位岩石力学相关研究的新领域,有利于重新认识深部资源储量和探索深部生命奥秘。研究成果拓展应用到深部煤矿原位保压保瓦斯取心、海相可燃冰保压保温取心、深空月基保真取心探矿等领域,为打造国家“三深”战略科技支撑核心力量提供技术装备支撑。

CO2矿化发电研究

煤炭燃烧通常被认为是煤炭能量利用的终点,此过程伴随着大量CO2的排放。然而事实上,CO2自身仍含有一部分能量,可通过化学位降低的矿化反应过程释放。但如何利用这部分能量对外输出电能是世界难题!2014年,他在国际上首次提出了CO2矿化发电原理与技术,揭示了电化学质子耦合电子转移(PCET)反应诱导的CO2矿化产电机制,率先建立了CO2矿化电池(CMC),实现了将CO2矿化反应的化学能转变为电能输出,真正意义上实现了CO2的能源化利用,开辟了全球CO2减排能源化利用新思路。

低能耗电化学碳捕集研究

当前高能耗的CO2捕集技术成本占CCUS系统总成本的80%,成为CCUS技术难以规模化实施的“卡脖子”难题,开发低能耗的CO2捕集技术是当前发展CCUS最具有挑战的环节之一。电化学CO2捕集技术因具有能量供给广、捕集效率高的潜在优势,成为科研人员主要研究方向,但目前该类方法仍普遍面临电极氧化还原反应高过电位引起的电解能耗较高的难题。他受到自然界生物体内高效质电耦合现象的启发,并与CO2吸收与解吸过程相耦合,从而建立了全新的质子耦合电子转移反应驱动的电化学CO2捕集技术,实现了低能耗电化学CO2捕集的技术突破。相关研究发表在《Applied Energy》与《Cell Reports Physical Science》上。

近零碳排放的直接煤燃料电池研究

当前,现代化的燃煤电厂受到卡诺循环的限制,单位发电量的煤炭消耗量居高不下,同时难以破解煤炭发电固有的CO2大量排放的技术瓶颈,无法真正实现煤炭的清洁低碳利用。他率先提出了 “近零碳排放直接煤燃料电池(DCFC)发电”原理与技术。该技术可打破卡诺循环的限制,不通过燃烧,而是将改性煤炭的化学能通过电化学氧化过程直接转换为电能,在系统内原位实现CO2二次能源化利用。同时,对该电池系统阴极材料设计上,他创新将机器学习与化学材料设计相结合,开发了阴极材料机器学习筛选技术,建立了路易斯酸性诱导离子极化分布协同降低氧空位能垒的材料设计理论模型,实现了快速、有效地从庞大的钙钛矿组分中筛选高活性阴极材料。为DCFC发电提供了理论与技术支撑。相关研究发表在《Nature Energy》上。

海水直接电解制氢研究

海洋是世界上最大的氢库,海水制氢可有效避免全球氢能发展带来的淡水资源紧缺的问题,是未来绿色“零碳能源”发展的重要方向。然而,海水组分复杂。尽管当前先淡化后制氢作为一类成熟的技术可避免海水中复杂组分对制氢系统的影响,但该技术严重依赖大规模淡化设备,流程复杂且占用大量土地资源,进一步推高了制氢成本与工程难度。自上个世纪七十年代以来,诸多研究围绕海水直接电解制氢面临的析氯副反应、电极腐蚀等相关难点开展攻关,但仍未有突破性的理论与原理彻底避免海水复杂组分对制氢反应的影响。他针对海水直接电解制氢的难题与挑战,从物理力学与电化学相结合的全新思路,提出了海水无淡化原位直接电解制氢原理与技术,建立了相变迁移驱动的海水直接电解制氢理论模型,揭示了微米级气隙通路下界面压力差对海水自发相变传质的影响机制,形成了电化学反应协同水迁移的动态自调节稳定电解制氢方法。破解了海水直接制氢复杂组分对电解反应失稳的难题。相关研究发表在全球顶刊《Nature》杂志上,是该杂志国际首篇海水电解制氢领域的文章。

学术论著

截至2022年10月,谢和平研究成果已出版10余本中英文专著,国际岩石力学学会邀请他撰写了英文专著《Fractals in Rock Mechanics》,作为国际岩石力学研究丛书第一卷,1993年由Balkema出版社出版,他是该丛书的唯一中国作者。在Nature、Nature Energy等顶级期刊发表400余篇学术论文。

出版著作

出版著作

1669202164792175.jpg

代表论文

Xie H P, Zhao Z Z,Liu T et.al. A membrane-based seawater electrolyser for hydrogen generation. Nature (Accepted).

Zhai S, Xie H, Cui P, et al. A combined ionic Lewis acid descriptor and machine-learning approach to prediction of efficient oxygen reduction electrodes for ceramic fuel cells[J]. Nature Energy, 2022, 7(9): 866-875.

Xie H P, Liu T, Gao M, et al. Research on in-situ condition preserved coring and testing systems[J]. Petroleum Science, 2021, 18(6):1840-1859

Xie H, Li C, He Z, et al. Experimental study on rock mechanical behavior retaining the in situ geological conditions at different depths[J]. International Journal of Rock Mechanics and Mining Sciences, 2021, 138: 104548

Xie H P, Zhu J B, Zhou T, et al. Novel Three-dimensional rock dynamic tests using the true triaxial electromagnetic Hopkinson bar system[J]. Rock Mechanics and Rock Engineering, 2021, 54(4): 2079-2086.

Xie H, Lan C, Chen B, et al. Noble-metal-free catalyst with enhanced hydrogen evolution reaction activity based on granulated Co-doped Ni-Mo phosphide nanorod arrays[J]. Nano Research, 2020, 13(12): 3321-3329.

Xie H, Jiang W, Liu T, et al. Low-energy electrochemical carbon dioxide capture based on a biological redox proton carrier[J]. Cell Reports Physical Science, 2020, 1(5): 100046.

Xie H, Gao X, Liu T, et al. Electricity generation by a novel CO2 mineralization cell based on organic proton-coupled electron transfer[J]. Applied Energy, 2020, 261: 114414.

Xie H, Zhu J B, Zhou T, et al. Conceptualization and preliminary study of engineering disturbed rock dynamics. Geomechanics and Geophysics for Geo-Energy and Geo-Resources, 2020, 6(2): 34.

谢和平, 高明忠, 张茹,等. 深部岩石原位"五保"取芯构想与研究进展[J]. 岩石力学与工程学报, 2020, 39(5):12.

谢和平. 深部岩体力学与开采理论研究进展[J]. 煤炭学报, 2019, 44(5):1283-1305.

Xie H, Gao M, Zhang R, et al. Study on the Mechanical Properties and Mechanical Response of Coal Mining at 1000 m or Deeper[J]. Rock Mechanics & Rock Engineering, 2018(6):1-16.

谢和平, 高峰, 鞠杨,等. 深地科学领域的若干颠覆性技术构想和研究方向[J]. 四川大学学报(工程科学版), 2017, 49(1):1-8.

谢和平, 高峰, 鞠杨,等. 深地煤炭资源流态化开采理论与技术构想[J]. 煤炭学报, 2017, 42(3):547-556.

Xie H, Ju Y, Gao F, et al. Groundbreaking theoretical and technical conceptualization of fluidized mining of deep underground solid mineral resources[J]. Tunnelling & Underground Space Technology, 2017, 67:68-70.

XIE Heping, GAO Feng, JU Yang,等. 页岩气储层改造的体破裂理论与技术构想[J]. 科学通报, 2016(1):36-46.

Xie H P, Feng G, Yang J U, et al. Novel idea of the theory and application of 3D volume fracturing for stimulation of shale gas reservoirs[J]. Chinese Science Bulletin, 2016, 61(1):36.

Xie H, Li X, Fang Z, et al. Carbon geological utilization and storage in China: current status and perspectives[J]. Acta Geotechnica, 2014, 9(1):7-27.

Xie H P, Wang Y F, Yang J U, et al. Simultaneous mineralization of CO2 and recovery of soluble potassium using earth-abundant potassium feldspar[J]. Chinese Science Bulletin, 2013, 58(1):128-132.

主要成就(科研成果奖励)

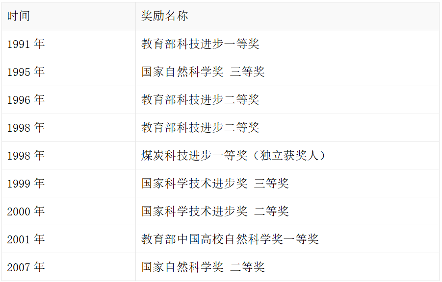
谢和平的科研成果获得1995年获国家自然科学三等奖1项,1999年获国家科技进步三等奖1项,2000年获国家科技进步二等奖1项,2007年获国家自然科学二等奖1项,获煤炭部、教育部等省部级二等以上奖励多项(均为第一获奖人)。

1669202183825115.png

人才培养

教育理念

2016年6月,谢和平在四川大学2016届学士学位授予典礼上的讲话时说:川大的毕业生走向社会,首先必须坚守社会主义核心价值理念,去追求振兴民族、献身国家、奉献社会的精神境界,去追求成为一个对社会有用的人,去追求成为一个能够担当时代重任、真正有所作为的人,更希望你们都能活得正直、善良、实在、厚道,首先至少应该做一个厚道的川大人。

国外讲学

1990年12月至1991年11月,被美国犹他大学聘为客座教授,为该校正式开设两门课程。1992年9月至1993年6月,被英国皇家学会Royal Society Res.Guest Fellow、英国南安大学聘为访问教授。1993年6月-1993年7月,波兰科学院、Silesian工业大学访问讲学。1994年和1996年,两次应邀为客座教授赴德国汉诺威大学讲学。1993年、1997年和1999年,三次应邀为客座教授赴波兰西里西亚工业大学讲学与合作研究。

指导学生

截至2022年6月,谢和平先后培养出了博士、博士后60余名。

荣誉表彰

1669202195647995.png

邮箱 职称 中国工程院院士
院系